Uniq

Chain

DIN 766 Calibrated Chain

Steel

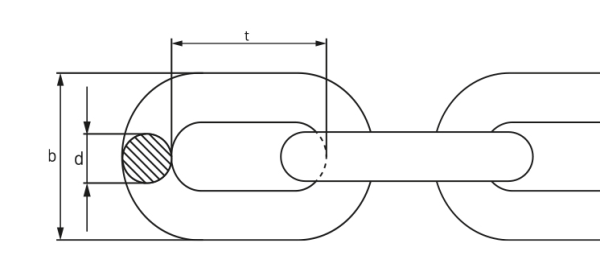
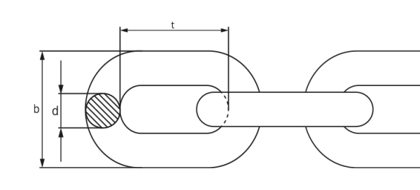
The zinc-plated DIN 766 calibrated short-link chain, is a steel chain whose links have precise and uniform dimensions, manufactured to meet the specific technical standards of DIN 766. Calibration ensures that the chain is compatible with mechanical equipment or traction, lifting, or anchoring systems that require exact adjustments. 

Thanks to its exceptional dimensional accuracy, it is particularly suitable for standardized equipment requiring precise chain measurements. These chains are designed to operate in mechanical setups where the spacing between teeth or grooves (like those in winches or anchor windlasses) must maintain a uniform pitch. Chains for naval applications, continuous conveyors, bucket elevators and mining, elevators, fishing nets, and general- purpose uses.

What material do you need?

Technical info for combination: Steel

Zinc-Plated DIN 766 Calibrated Chain
Brochure-D766A.pdf
Download |

Material:
Q235 Grade 30 steel

Finish:
Zinc-plated

All References for combination: Steel

View All references
Other products that may interest you