Écrous rapides de sécurité type U
Filetage ACME
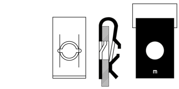
L’écrou rapide de sécurité de type «U» est un élément de fixation composé de deux languettes en forme de pinces, avec un positionnement de pointage vers l’extérieur, qui offre une double pression élastique. La simple pression des doigts est suffisante pour s’assurer que l’écrou rapide ne puisse pas tourner au moment de visser la vis. beaucoup plus rapide que celui des écrous conventionnels. De plus, du fait de sa faculté d’auto-blocage, on élimine les coûteuses opérations de filetage, soudure ou poinçonnage. Ce type d’écrou permet également des assemblages sur éléments fragiles comme le cristal, le plastique ou encore les surfaces vernies. Dans ces derniers cas, la résilience de l’écrou évite les fissures ou le dommage sur les surfaces d’appui.
S’auto-bloque à partir d’un couple de serrage bien inférieur à celui qui est nécessaire pour les écrous conventionnels. En principe, son montage s’effectue sur le propre bord du panneau, mais il peut également s’effectuer au centre ou autour du panneau par le biais d’un foret rectangulaire. Sa grande gamme permet au Responsable de projet de choisir parmi une panoplie de combinaisons d’épaisseurs de panneau et de tailles de vis. L’alignement des panneaux pendant le montage est obtenu à travers un flottement adéquat de l’écrou rapide à l’intérieur de son logement.
Filetage DIN 7970
L’écrou rapide de sécurité de type «U» est un élément de fixation composé de deux languettes en forme de pinces, avec un positionnement de pointage vers l’extérieur, qui offre une double pression élastique. La simple pression des doigts est suffisante pour s’assurer que l’écrou rapide ne puisse pas tourner au moment de visser la vis. beaucoup plus rapide que celui des écrous conventionnels. De plus, du fait de sa faculté d’auto-blocage, on élimine les coûteuses opérations de filetage, soudure ou poinçonnage. Ce type d’écrou permet également des assemblages sur éléments fragiles comme le cristal, le plastique ou encore les surfaces vernies. Dans ces derniers cas, la résilience de l’écrou évite les fissures ou le dommage sur les surfaces d’appui.
S’auto-bloque à partir d’un couple de serrage bien inférieur à celui qui est nécessaire pour les écrous conventionnels. En principe, son montage s’effectue sur le propre bord du panneau, mais il peut également s’effectuer au centre ou autour du panneau par le biais d’un foret rectangulaire. Sa grande gamme permet au Responsable de projet de choisir parmi une panoplie de combinaisons d’épaisseurs de panneau et de tailles de vis. L’alignement des panneaux pendant le montage est obtenu à travers un flottement adéquat de l’écrou rapide à l’intérieur de son logement.
Filetage métrique
L’écrou rapide de sécurité de type «U» est un élément de fixation composé de deux languettes en forme de pinces, avec un positionnement de pointage vers l’extérieur, qui offre une double pression élastique. La simple pression des doigts est suffisante pour s’assurer que l’écrou rapide ne puisse pas tourner au moment de visser la vis. beaucoup plus rapide que celui des écrous conventionnels. De plus, du fait de sa faculté d’auto-blocage, on élimine les coûteuses opérations de filetage, soudure ou poinçonnage. Ce type d’écrou permet également des assemblages sur éléments fragiles comme le cristal, le plastique ou encore les surfaces vernies. Dans ces derniers cas, la résilience de l’écrou évite les fissures ou le dommage sur les surfaces d’appui.
S’auto-bloque à partir d’un couple de serrage bien inférieur à celui qui est nécessaire pour les écrous conventionnels. En principe, son montage s’effectue sur le propre bord du panneau, mais il peut également s’effectuer au centre ou autour du panneau par le biais d’un foret rectangulaire. Sa grande gamme permet au Responsable de projet de choisir parmi une panoplie de combinaisons d’épaisseurs de panneau et de tailles de vis. L’alignement des panneaux pendant le montage est obtenu à travers un flottement adéquat de l’écrou rapide à l’intérieur de son logement.
Technical info for combination: Filetage ACME
Matériel:
Acier pour ressorts
Finition:
Huilage anti oxydant
Dureté:
HV 420 ÷ 500 / HRC 43 ÷ 49
Technical info for combination: Filetage DIN 7970
Matériel:
Acier pour ressorts ou acier inoxydable AISI 304
Finition:
Huilage anti oxydant, zingué ou geomet
Dureté:
HV 390 ÷ 470 / HRC 40 ÷ 47
Technical info for combination: Filetage métrique
Matériel:
Acier pour ressorts ou acier inoxydable AISI 304
Finition:
Huilage anti oxydant en fonction du matériau ou non fini
Dureté:
HV 420 ÷ 500 / HRC 43 ÷ 49
All References for combination: Filetage ACME
| Part number | Dénomination | Figure | Filetage | e | a ± 0.3 | b ± 0.5 | s | d + 0.2 | c - 0.3 | x Mín. | y Mín. | Boîtage | Emballage |
|---|---|---|---|---|---|---|---|---|---|---|---|---|---|
| 02130641 | TR 2302-1D | Fig. 1 | 1/4 12h | 0,6 - 1,1 | 18 | 16.4 | 0.9 | 8.5 | 7.5 | 18.5 | 8 | 1000 | 4000 |
| 02130633 | TR 2302-2D | Fig. 1 | 1/4 12h | 1,2 - 1,8 | 18 | 16.3 | 0.9 | 8.5 | 7 | 18.5 | 8 | 1000 | 4000 |
| 02130756 | TR 1301-A | Fig. 1 | 1/4 12h | 0,7 - 1,4 | 14 | 30 | 0.8 | 9 | 16.5 | 14.5 | 10 | 1000 | 4000 |
| 02130596 | TR 2301-2A | Fig. 1 | 1/4 12h | 1,5 - 2,3 | 14 | 30 | 1 | 9 | 16.5 | 14.5 | 12 | 1000 | 4000 |
All References for combination: Filetage DIN 7970
| Part number | Dénomination | Figure | Filetage | e | a ± 0.3 | b ± 0.5 | s | d + 0.2 | c - 0.3 | x Mín. | y Mín. | Boîtage | Emballage |
|---|---|---|---|---|---|---|---|---|---|---|---|---|---|
| 02130748 | TR 3201-A | Fig. 3 | 2,9 (ISO 4) | 0,6 - 1,2 | 9 | 16 | 0.4 | 6 | 8.5 | 9.5 | 8.5 | 1000 | 16000 |
| 02130553 | TR 1812-B | Fig. 1 | 2,9 (ISO 4) | 0,7 - 1,2 | 8 | 11 | 0.5 | 4.75 | 4.5 | 8.5 | 6 | 1000 | 16000 |
| 02130203 | TR 522-1C | Fig. 1 | 3,5 (ISO 6) | 0,7 - 1,0 | 9 | 12 | 0.6 | 5 | 6.5 | 9.5 | 7 | 1000 | 8000 |
| 02130220 | TR 522-2C | Fig. 1 | 3,5 (ISO 6) | 1,1 - 1,5 | 9 | 12 | 0.6 | 5 | 6 | 9.5 | 7 | 1000 | 8000 |
| 02130238 | TR 522-3A | Fig. 1 | 3,5 (ISO 6) | 1,6 - 2,0 | 9 | 12 | 0.6 | 5 | 6 | 9.5 | 7 | 1000 | 16000 |
| 02130246 | TR 522-3C | Fig. 1 | 3,5 (ISO 6) | 1,6 - 2,0 | 9 | 12 | 0.6 | 5 | 6 | 9.5 | 7 | 1000 | 8000 |
| 02130262 | TR 522-4C | Fig. 1 | 3,5 (ISO 6) | 2,1 - 2,5 | 9 | 11.5 | 0.6 | 5 | 5 | 9.5 | 7.5 | 1000 | 8000 |
| 02130289 | TR 531-1C | Fig. 1 | 3,9 (ISO 7) | 0,7 - 1,0 | 9 | 12 | 0.6 | 6 | 6.5 | 9.5 | 7 | 1000 | 8000 |
| 02130300 | TR 531-2C | Fig. 1 | 3,9 (ISO 7) | 1,1 - 1,5 | 9 | 12 | 0.6 | 6 | 6 | 9.5 | 7 | 1000 | 8000 |
| 02130537 | TR 515-1B | Fig. 1 | 4,2 (ISO 8) | 0,6 - 1,1 | 9 | 10.5 | 0.6 | 6 | 5.3 | 9.5 | 6 | 1000 | 8000 |
| 02130650 | TR 515-2B | Fig. 1 | 4,2 (ISO 8) | 1,4 - 1,6 | 9 | 10.5 | 0.6 | 6 | 4.5 | 9.5 | 6 | 1000 | 8000 |
| 02130326 | TR 523-1C | Fig. 1 | 4,2 (ISO 8) | 0,7 - 1,0 | 9 | 12 | 0.6 | 6 | 6.5 | 9.5 | 7 | 1000 | 8000 |
| 02130342 | TR 523-2C | Fig. 1 | 4,2 (ISO 8) | 1,1 -1,5 | 9 | 12 | 0.6 | 6 | 6 | 9.5 | 7 | 1000 | 8000 |
| 02130350 | TR 523-3A | Fig. 1 | 4,2 (ISO 8) | 1,6 - 2,0 | 9 | 12 | 0.6 | 6 | 6 | 9.5 | 7 | 1000 | 16000 |
| 02130369 | TR 523-3C | Fig. 1 | 4,2 (ISO 8) | 1,6 - 2,0 | 9 | 12 | 0.6 | 6 | 6 | 9.5 | 7 | 1000 | 8000 |
| 02130385 | TR 523-4C | Fig. 1 | 4,2 (ISO 8) | 2,1 - 2,5 | 9 | 11.5 | 0.6 | 6 | 5 | 9.5 | 7.5 | 1000 | 8000 |
| 02130625 | TR 536-B | Fig. 1 | 4,2 (ISO 8) | 0,7 - 1,6 | 11 | 16.5 | 0.6 | 7 | 8 | 11.5 | 8.5 | 1000 | 8000 |
| 02130510 | TR 2448-B | Fig. 4 | 4,2 (ISO 8) | 3,5 - 4,8 | 11 | 16 | 0.6 | 6.7 | 6.5 | 11.5 | 8.5 | 1000 | 8000 |
| 02130588 | TR 2223-D | Fig. 1 | 4,2 (ISO 8) | 0,6 - 0,8 | 16 | 11.7 | 0.6 | 6.5 | 5 | 16.5 | 7 | 1000 | 8000 |
| 02130529 | TR 2202-3D | Fig. 1 | 4,2 (ISO 8) | 1,7 - 2,2 | 16 | 15.5 | 0.6 | 6 | 6 | 16.5 | 8.5 | 1000 | 8000 |
| 02128164 | TR 502-A | Fig. 1 | 4,2 (ISO 8) | 0,8 - 1,5 | 9 | 19 | 0.6 | 6 | 12 | 9.5 | 12 | 1000 | 8000 |
| 02130406 | TR 2207-1B | Fig. 1 | 4,8 (ISO 10) | 0,9 - 1,4 | 12 | 15 | 0.7 | 7 | 6.5 | 12.5 | 10 | 1000 | 8000 |
| 02130422 | TR 2207-2B | Fig. 1 | 4,8 (ISO 10) | 1,5 - 2,4 | 12 | 15 | 0.7 | 7 | 6 | 12.5 | 10 | 1000 | 8000 |
| 02130449 | TR 2207-3B | Fig. 1 | 4,8 (ISO 10) | 2,5 - 3,2 | 12 | 15 | 0.7 | 7 | 5.5 | 12.5 | 10 | 1000 | 8000 |
| 02130465 | TR 506-1B | Fig. 1 | 4,8 (ISO 10) | 0,6 - 1,0 | 12 | 21 | 0.7 | 7 | 9.5 | 12.5 | 12 | 1000 | 4000 |
| 02130481 | TR 506-2B | Fig. 1 | 4,8 (ISO 10) | 1,1 - 2,5 | 12 | 21 | 0.7 | 7 | 9 | 12.5 | 12 | 1000 | 4000 |
| 02130502 | TR 506-3B | Fig. 1 | 4,8 (ISO 10) | 2,6 - 3,8 | 12 | 21 | 0.7 | 7 | 8 | 12.5 | 12 | 1000 | 4000 |
| 02130852 | TR 606-B | Fig. 2 | 4,8 (ISO 10) | 1,5 - 3,0 | 12 | 20.9 | 0.7 | 5.5 | 9 | 12.5 | 12 | 1000 | 4000 |
| 02130570 | TR 2222-D | Fig. 2 | 5,5 (ISO 12) | 0,8 - 1,5 | 16 | 14.7 | 0.8 | 6.5 | 6.5 | 16.5 | 9 | 1000 | 4000 |
| 02130609 | TR 2225-1D | Fig. 1 | 5,5 (ISO 12) | 0,4 - 0,9 | 16 | 16.5 | 0.8 | 7 | 9 | 16.5 | 9 | 1000 | 4000 |
| 02130617 | TR 2225-3D | Fig. 1 | 5,5 (ISO 12) | 1,6 - 2,1 | 16 | 16 | 0.8 | 7 | 8 | 16.5 | 9 | 1000 | 4000 |
| 02127057 | TR 2202-3D | Fig. 1 | 4,2 (ISO 8) | 1,7 - 2,2 | 16 | 15.5 | 0.6 | 6 | 6 | 16.5 | 8.5 | 1000 | 8000 |
| 02127030 | TR 523-4C | Fig. 1 | 4,2 (ISO 8) | 2,1 - 2,5 | 9 | 11.5 | 0.6 | 6 | 5 | 9.5 | 7.5 | 15000 | 15000 |
| 02127090 | TR 709-B | Fig. 2 | 4,8 (ISO 10) | 1,5 - 2,5 | 11 | 12.8 | 0.7 | 6 | 6.5 | 11.5 | 8 | 10000 | 10000 |
| 02128252 | TR 825-B | Fig. 1 | 2,9 (ISO 4) | 2,3 - 3,0 | 9 | 12 | 0.5 | 4.7 | 5 | 8.5 | 8 | 500 | 8000 |
All References for combination: Filetage métrique
| Part number | Dénomination | Figure | Filetage | e | a ± 0.3 | b ± 0.5 | s | d + 0.2 | c - 0.3 | x Mín. | y Mín. | Boîtage | Emballage |
|---|---|---|---|---|---|---|---|---|---|---|---|---|---|
| 02127110 | TR 601-A | Fig. 2 | M4 | 0,6 - 2,5 | 10 | 16 | 0.4 | 5 | 7 | 10.5 | 8.5 | 1000 | 8000 |
| 02130019 | TR 503-A | Fig. 1 | M3 | 0,8 - 1,6 | 8 | 12 | 0.3 | 5 | 6 | 8.5 | 6.5 | 1000 | 16000 |
| 02130545 | TR 601-A | Fig. 2 | M4 | 0,6 - 2,5 | 10 | 16 | 0.4 | 5 | 7 | 10.5 | 8.5 | 1000 | 8000 |
| 02130027 | TR 501-A | Fig. 1 | M4 | 1,0 - 2,0 | 10 | 18 | 0.4 | 6 | 8.5 | 10.5 | 8.5 | 1000 | 8000 |
| 02130035 | TR 520-A | Fig. 1 | M4 | 3,0 - 4,0 | 10 | 17.5 | 0.4 | 6 | 7 | 10.5 | 8.5 | 1000 | 8000 |
| 02130051 | TR 2212-1C | Fig. 1 | M5 | 0,6 - 1,1 | 12 | 15 | 0.5 | 7 | 6.5 | 12.5 | 8 | 1000 | 8000 |
| 02130078 | TR 2212-2C | Fig. 1 | M5 | 1,2 - 1,8 | 12 | 15 | 0.5 | 7 | 6.5 | 12.5 | 8 | 1000 | 8000 |
| 02130094 | TR 2212-3C | Fig. 1 | M5 | 1,9 - 2,2 | 12 | 15 | 0.5 | 7 | 6 | 12.5 | 8 | 1000 | 8000 |
| 02128076 | TR 2212-4C | Fig. 1 | M5 | 2,3 - 3,0 | 12 | 14.7 | 0.5 | 7 | 5.5 | 12.5 | 8 | 1000 | 8000 |
| 02130115 | TR 521-1B | Fig. 1 | M5 | 0,6 - 1,4 | 12 | 21 | 0.5 | 7 | 9.5 | 12.5 | 10 | 1000 | 8000 |
| 02130131 | TR 521-2B | Fig. 1 | M5 | 1,5 - 2,6 | 12 | 21 | 0.5 | 7 | 9 | 12.5 | 10 | 1000 | 8000 |
| 02130158 | TR 509-1B | Fig. 1 | M5 | 0,6 - 1,4 | 12 | 24 | 0.5 | 7 | 12.5 | 12.5 | 10.7 | 1000 | 8000 |
| 02130174 | TR 509-2B | Fig. 1 | M5 | 1,5 - 2,6 | 12 | 24 | 0.5 | 7 | 12 | 12.5 | 10.7 | 1000 | 8000 |
| 02130182 | TR 506-A | Fig. 1 | M6 | 2,0 - 3,2 | 14 | 24.5 | 0.5 | 8 | 10 | 14.5 | 10.7 | 1000 | 4000 |
| 02130879 | TR 516-A | Fig. 1 | M6 | 3,3 - 4,6 | 14 | 24.5 | 0.5 | 8 | 9 | 14.5 | 10.7 | 1000 | 8000 |
| 02130684 | TR 2219-2D | Fig. 1 | M6 | 1,0 - 1,8 | 16 | 16.6 | 0.5 | 8 | 8.4 | 16.5 | 8 | 1000 | 8000 |
| 02130668 | TR 2219-3D | Fig. 1 | M6 | 1,9 - 3,0 | 16 | 16.2 | 0.5 | 8 | 7.4 | 16.5 | 8 | 1000 | 4000 |